Qingdao Xin Aneng Conveying Machinery Co., Ltd.
Qingdao Xin Aneng Conveying Machinery Co., Ltd.
Zprávy

Stanovení čistšího protokolu

2025-03-19 0 Nechte mi zprávu

1.1 Stanovení programu čističe

Zametejte lepicí pásku uhelného prachu, který byl dodržován. Jak všichni víme, syrové uhlí přepravované z těžební tváře obsahuje různé stupně vlhkosti a je snadné spojit jemné rozmělé uhlí na povrch pásky. Pokud se rozbušené uhlí spojeno s páskou není vyčištěno, bude rozbušené uhlí přivezeno do koše na úložný pás a válec pod celým spodním pásem v prázdném sekci (tj. Ve spodním pásu) a bude hlavně uloženo do koše na úložný prostor pásu.

Hlavní výsledky jsou:

V koši na skladování pásů, které pohřbí podpůrný válec, se hromadí velké množství rozbušeného uhlí, což způsobuje, že válec selhává a ovlivňuje životnost pásu;

2) odchylka provozu pásu způsobí nehodu zavěšení nebo roztržení okraje;

3) zvýšit běžecký odpor pásky a zvýšit náklady;

4) množství vyčištěných uhlí, což zvyšuje intenzitu pracovníků pracovníků;

Při používání čističů uhlí je třeba vyřešit tři problémy:

1) čisticí účinek by měl být dobrý;

2) čistič lze snadno vyměnit a pracovní zátěž údržby by mělo být malé;

3) Pro vyčištěné uhlí musí existovat cesta ven.

1. Analýza současné situace

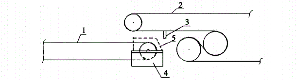
1) Struktura a poloha tradičního čističe uhlí


Jak je vidět z obrázku 2-1, čistič uhlí je obecně nainstalován v zadní části bubnu. Čistič uhlí má opravit kus pásky uprostřed dvou dlahy za účelem vytvoření rámu čističe uhlí, použijte strukturu kolíku a páky, aby se uhlí čisticí pásky po účinku vyvolaly, aby se čisticí prostředek uhlí a dutý pás způsobil, a uhelný pás způsobil jistotu, a uhelného opotřebení pásky uhlí po odškodnění tlaku.

2) Vady tradičních čističů uhlí

A. Čistič uhlí se skládá z čisticí pásky a protože spodní pás je dutý pás, pás se vznáší pod tlakem čističe uhlí, tlak čističe uhlí nestačí a čisticí účinek je špatný.

6. Čistič uhlí je na zadní straně vykládacího bubnu a je obecně více než 1 m od vykládacího bubnu podle podmínek instalace a uhlí pod čištěním musí zpracovat malou uhelnou násypku, aby sklouzl uhlí k dalšímu pásu, ale někdy proto, že výška podzemního prostoru nestačí, nelze uhlí, které je smícháno dolů, nelze sklouznout.

C. Náhradní pracovní zátěž čističe uhlí je velký, což usnadňuje poškození čisticího prostředku uhlí a náhradní cyklus je také velmi krátký.

3) Typický spoj pro přepravu pásu

Typické transportní kolo pásu je znázorněno na obrázku 2-2.

Jak je vidět z obrázku 2-2, uhlí pod čističem uhlí nemůže proklouznout přímo na pás a podle ustanovení „nařízení o bezpečnosti uhelných dolů“ je 35 běžících částí veškerého vybavení vybaveno ochranným zařízením (tj. Scheltem), takže po pásu je vybaven štít s štítkem uhlí, že se uhlí sklouzne dvěma čisticími zařízeními.

Související novinky
Nechte mi zprávu
X
Používáme cookies, abychom vám nabídli lepší zážitek z prohlížení, analyzovali návštěvnost webu a přizpůsobili obsah. Používáním tohoto webu souhlasíte s naším používáním souborů cookie. Zásady ochrany osobních údajů
Odmítnout Přijmout